Блок под капотом
Монтажный блок с предохранителями и плавкими вставками находится в крышке на аккумуляторной батарее.
Вариант 1
Схема
Назначение
- 175А Генератор
- Не занято
- 80А Внутренне пространство
- 60А Дополнительный электрический обогрев
- 40А Внутренне пространство
- 50А Вентилятор системы охлаждения, свечи накаливания
- 50А Электрическое рулевое управление
- 25А ABS, ESP, ASR
- 30A Вентилятор системы охлаждения
- 5A Вентилятор системы охлаждения
- 40A ABS, ESP, ASR
- 5A Центральный блок управления
- 5А Автоматическая коробка передач, 40А Дополнительный обогрев
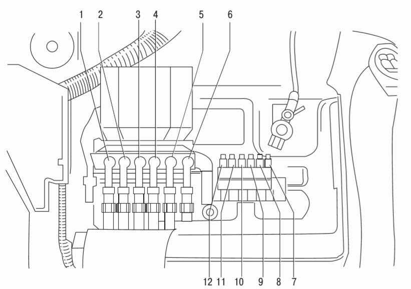
Вариант 2
Схема

Описание
| 1 | 175А Генератор | 
| 2 | 80А Блок управления электрооборудованием | 
| 3 | 60А Дополнительный отопитель | 
| 4 | 40А Гидро — электронный блок ABS | 
| 5 | 50А Блок управления усилителя рулевого управления | 
| 6 | 50А Свечи накаливания | 
| 7 | 5А Автоматическая коробка передач | 
| 8 | 40А Блок управления электрооборудованием | 
| 9 | 30А Вентилятор системы охлаждения | 
| 10 | 5А Кондиционер | 
| 11 | 30А Вентилятор системы охлаждения | 
| 12 | 25А Гидро — электронный блок ABS | 












