Similar Documents
| Publication | Publication Date | Title | 
|---|---|---|
|                 US10138812B2 | 2018-11-27 | Gas turbine engine bearing chamber seals | 
|                 JP5080823B2 | 2012-11-21 | スーパーコア油だめ通気圧力制御方法および装置 | 
|                 US20120285425A1 | 2012-11-15 | Blowby flow control system for a turbocharged engine | 
|                 EP2071140A3 | 2013-06-19 | On-demand lubrication system and method for improved flow management and containment | 
|                 RU2013142184A | 2015-03-27 | Способ эксплуатации двигателя и система вентиляции картера | 
|                 JP2012503133A5 | 2012-09-20 | |
|                 EP3396120A3 | 2018-12-19 | Method and system to ensure full oil tubes after gas turbine engine shutdown | 
|                 RU2684764C1 | 2019-04-12 | Способ повышения эффективности системы суфлирования маслобака газотурбинного двигателя газоперекачивающего агрегата ц25бд/100-1,35м | 
|                 RU2015141379A | 2017-05-16 | Способы и системы для предотвращения протечки смазочного масла в газовых турбинах | 
|                 EP1798384A3 | 2010-07-14 | Vacuum system for membrane fuel stabilization unit | 
|                 RU2458234C1 | 2012-08-10 | Способ работы газотурбинного двигателя | 
|                 CN204716541U | 2015-10-21 | 两级喷油螺杆式压缩机 | 
|                 RU2273745C1 | 2006-04-10 | Масляная система газотурбинного двигателя | 
|                 RU2596896C1 | 2016-09-10 | Двухконтурный газотурбинный двигатель | 
|                 US20130174574A1 | 2013-07-11 | Gas turbine engine bearing chamber seals | 
|                 US10646805B2 | 2020-05-12 | Device of a turbomachine for separating oil from an air-oil volume flow | 
|                 RU2547539C1 | 2015-04-10 | Приводной центробежный суфлер для высокотемпературного газотурбинного двигателя | 
|                 CA2757683A1 | 2012-05-24 | Advanced air and oil circuit architecture for turbomachine | 
|                 RU187559U1 | 2019-03-12 | Система суфлирования масляной опоры ротора газотурбинного двигателя | 
|                 RU2211346C1 | 2003-08-27 | Масляная система газотурбинного двигателя | 
|                 RU2554677C1 | 2015-06-27 | Система уплотнений вала компрессора | 
|                 RU2567530C1 | 2015-11-10 | Способ повышения выходной мощности газотурбинного двигателя при эксплуатации | 
|                 RU2706516C1 | 2019-11-19 | Способ очистки газотурбинного двигателя | 
|                 WO2013024199A3 | 2013-05-23 | Method of operating an internal combustion engine and an internal combustion engine arrangement | 
|                 RU2623854C1 | 2017-06-29 | Способ смазки и охлаждения передней опоры ротора газотурбинного двигателя | 
Системы защиты двигателя от помпажа
Назначение систем защиты двигателя от помпажа — не допустить нарушения ГДУ компрессора и работы двигателя при потере ГДУ. Системы защиты подразделяются на два типа:
(1) системы кратковременного повышения запасов устойчивости (СКПЗУ) СУ;
(2) системы вывода двигателя из режима потери ГДУ (помпажа, вращающегося срыва) и восстановления исходного режима (СВР).
Системы защиты должны быть работоспособны во всех условиях эксплуатации J1A: при различных высотах и скоростях полета, изменении состояния атмосферы, вибрационных нагрузках, эволюциях J1A и др.
Они имеют световую и/или звуковую сигнализацию в кабине экипажа о потере ГДУ и сигнализацию об их неисправности.
Системы кратковременного повышения запасов устойчивости предназначены для предотвращения нарушения ГДУ двигателя при воздействии временных, прогнозируемых, эпизодически возникающих факторов. К таким факторам относятся кратковременное увеличение неравномерности и пульсаций потока при эволюциях J1A, воздействие тепловых возмущений, ударных волн и др.
Системы этого типа разделяют на две группы:
(1) включаемые в ситуациях, предшествующих появлению прогнозируемых возмущений;
(2) срабатывающие лишь в тех случаях, когда интенсивность возмущений превышает заданный критический уровень.
Системы первой группы приводятся в действие по команде экипажа J1A, а второй — по сигналу, вырабатываемому специальными датчиками. В системах второй группы могут быть использованы сигнализаторы, предназначенные для распознавания определенной ситуации, например: превышения заданного уровня пульсаций давления на входе в двигатель, достижения критических углов атаки, превышения заданного отклонения рулей самолета и др.
В качестве управляющих факторов для кратковременного повышения запасов устойчивости СУ используются быстродействующие органы управления воздухозаборником, поворот лопаток НА компрессора, перепуск воздуха из проточного тракта компрессора, кратковременное уменьшение расхода топлива в основной камере сгорания, уменьшение расхода топлива в ФКС, изменение площади реактивного сопла.
Скорость и время срабатывания СКПЗУ синхронизируются с длительностью действия возмущения. Характерная длительность основных операций составляет:
Info
- Publication number
- RU2684764C1
RU2684764C1
RU2018118134A
RU2018118134A
RU2684764C1
RU 2684764 C1
RU2684764 C1
RU 2684764C1
RU 2018118134 A
RU2018118134 A
RU 2018118134A
RU 2018118134 A
RU2018118134 A
RU 2018118134A
RU 2684764 C1
RU2684764 C1
RU 2684764C1
Authority
    RU
    Russia
Prior art keywords
    gas
    turbine engine
    oil tank
    gas turbine
    oil
    Prior art date
    2018-05-17
  Application number
RU2018118134A
Other languages
English (en)
Inventor
Дмитрий Григорьевич Теплинский
Original Assignee
Общество с ограниченной ответственностью «Газпром трансгаз Ухта»
Priority date (The priority date is an assumption and is not a legal conclusion. Google has not performed a legal analysis and makes no representation as to the accuracy of the date listed.)
2018-05-17
Filing date
2018-05-17
Publication date
2019-04-12
    2018-05-17Application filed by Общество с ограниченной ответственностью «Газпром трансгаз Ухта»
    filed
Critical
Общество с ограниченной ответственностью «Газпром трансгаз Ухта»
    2018-05-17Priority to RU2018118134A
    priority
Critical
patent/RU2684764C1/ru
    2019-04-12Application granted
    granted
Critical
    2019-04-12Publication of RU2684764C1
    publication
Critical
patent/RU2684764C1/ru
ОСНОВНЫЕ ТЕХНИЧЕСКИЕ ДАННЫЕ
Тип маслосистемы – замкнутая, циркуляционная, под давлением.
Сорт масла – ТП-22 ( НК-8П, МС-8П ).
Тонкость фильтрации – не более 40 мкм.
Средней часовой расход – не более 1 кг/ч. ( допускается расход – 1,5 кг/ч.).
Давление масла в нагнетающей магистрали двигателя:
На режиме прогрева не менее 2,9 кг/см2.
В режиме работы – 3,5-4,0 кг/см2.
РМ на входе в СТ не менее 1,1 кг/см2.
РВОЗД. в полости средней опоры ± 0,5 кг/см2.
Температура масла на входе в двигатель +5о до +100оС.
Температура масла на выходе не более 125о С.
На выходе из задней опоры не более 140о С.
На выходе СТ не более – 140о С.
Маслосистема оборудована датчиками Р и То, сигнализатором наличия стружки, магнитными пробками (4 шт.). Всё это позволяет оценивать состояние двигателя в процессе его работы.
1. .
2.
3.
Конструктивно маслосистема состоит из двух частей:
1.Из агрегатов расположенных на двигателе.
2.Из агрегатов систем маслообеспечения расположенных в отдельных отсеках ГПА.
НА ДВИГАТЕЛЕ РАСПОЛОЖЕНЫ:
1.Подкачивающий насос с двумя обратными (стояночными) и редукционными клапанами.
2.Нагнетающий насос ГГ с редукционными клапанами.
3.Нагнетающий насос СТ.
4.Масляный фильтр ГГ с перепускным клапаном.
5.Откачивающий насос передней опоры.
6.Откачивающий насос средней опоры и коробки приводов.
7.Суфлёр опоры турбины в блоке с откачивающим насосом.
8.Суфлёр средней опоры и коробки приводов с эжектирующим устройством.
9.Центрифуга.
10.Краны слива из коробки приводов и масляных фильтров.
11.Магнитные пробки в магистралях откачки масла.
12.Теплообменник в системе САР.
Предупреждение об использовании файлов cookies на сайте Info KS
В соответствии с законами ЕС, поставщики цифрового контента обязаны предоставлять пользователям своих сайтов информацию о правилах в отношении файлов cookie и других данных. Администрация сайта должна получить согласие конечных пользователей из ЕС на хранение и доступ к файлам cookie и другой информации, а также на сбор, хранение и применение данных при использовании продуктов Google.
Файл cookie – файл, состоящий из цифр и букв. Он хранится на устройстве, с которого Вы посещаете сайт Info KS. Файлы cookie необходимы для обеспечения работоспособности сайтов, увеличения скорости загрузки, получения необходимой аналитической информации.
Сайт использует следующие cookie:
Необходимые для работы сайта: навигация, скачивание файлов. Происходит отличие человека от робота.
Файлы cookie для увеличения быстродействия и сбора аналитической информации. Они помогают администрации сайта понять взаимодействие посетителей сайтом, дают информацию о страницах, которые были посещены. Эта информация помогает улучшать работу сайта.
Рекламные cookie. В эти файлы предоставляют сведения о посещении наших страниц, данные о ссылках и рекламных блоках, которые Вас заинтересовали. Цель — отражать на страницах контент, наиболее ориентированный на Вас.
Если Вы не согласны с использованием нами файлов cookie Вашего устройства, пожалуйста покиньте сайт.
Продолжением просмотра сайта Info KS Вы даёте своё согласие на использование файлов cookie.
Сферы применения
Применение авиационного алюминия, благодаря удачному сочетанию свойств, охватывает практически все отрасли техники. Сплавы АД33, АД31 и АВ широко используются в сфере строительства для изготовления самых разнообразнейших конструкций. Широко применяется авиаль, соответственно, в авиации. Из него изготовляются детали и конструкции для самолетов, лопасти вертолетов. Авиаль участвует даже в конструкциях оформления интерьера самолета.
Автомобильная промышленность использует авиационный алюминий для деталей кузовов и шасси автомобилей. В электротехнической сфере промышленности авиаль применяется в качестве материала для изготовления проводников – труб, профилей, шин
Не обошла вниманием такой материал и отрасль атомной промышленности. Здесь авиационный алюминий выступает в роли защитных оболочек твэл, которые располагаются в некоторых видах водоохлаждающих реакторов
Дополнительно стоит заметить, что дюралюминий достаточно часто применяется в криогенной технике, судостроительстве, при изготовлении железнодорожного транспорта и предметов бытового назначения.
Авиационный алюминий, цена которого достаточно высока, тем не менее, получил широкое распространение. Во многом этому обстоятельству благоприятствовал легкий вес металлического сплава, его пластичность и выведенные экспериментальным путем, показатели прочности. Авиационный алюминий обладает прекрасными механическими свойствами, он чрезвычайно устойчив к образованию коррозии, имеет высокие показатели усталостной прочности и ударной вязкости. Из авиаля легко получаются даже детали с достаточно сложной конструкцией, к примеру, лонжероны лопастей винтов вертолетов.
голоса
Рейтинг статьи
Суфлирование с помощью панели операторов
Выберите оператора, которому хотите суфлировать.
Найдите кнопку оператора на панели телефонии.
Убедитесь что в данный момент оператор разговаривает. На кнопке оператора будет номер собеседника и таймер разговора:
Чтобы начать суфлирование, наведите указатель мыши на кнопку оператора. Нажмите на кнопку оператора правой кнопкой мыши. Из появившегося меню выберите «Суфлирование»:
Что будет происходить далее:
1. На Ваш настольный SIP телефон, или программный телефон поступит входящий звонок от системы Asterisk;
2. Вы отвечаете на этот звонок;
3. Система Asterisk начинает транслировать разговора оператор Вам в режиме суфлирования;
4. При этом оператор Вас будет слышать. А собеседник оператора Вас не будет слышать.
Какая индикация будет сопровождать Ваши действия по суфлированию:
Ваша кнопка на панели операторов окрасится в красный цвет. На ней будет отображаться значок Прослушивания и надпись «Занят»:
В секции «Телефон» Вашей программы будет точно такая же индикация: Значок прослушивания, номер оператора, таймер длительности прослушивания:
В СИТЕМУ МАСЛООБЕСПЕЧЕНИЯ ДВИГАТЕЛЯ НК-16-18СТ ВХОДЯТ:
1.Масляный бак.
2.Воздушно-масляный теплообменник.
3.Обратный клапан на входе в теплообменник.
4.Сигнализатор наличия стружки ( СНС ).
5.Терморегулятор.
6.Маслоуловитель (бак циклон).
7.Фильтр на выходе из холодильника и из м/бака.
8.Перекрывной кран на выходе из м/бака.
9.Краны слива из холодильника и м/бака.
10.Вентили на входе и выходе м/фильтров.
11.Фильтр в магистрали заправки масла.
МАСЛОБАК ДВИГАТЕЛЯ
Объём – 0,8 куб/м3.
Установлен на одном уровне с двигателем. Максимальный объём заправляемого в бак масла – 0,66куб/м3. Заправка маслобака осуществляется через фильтр с тонкостью фильтрации 25 микрон. Маслобак оснащён вспомогательными устройствами:
1.Уровнемер.
2.Датчик минимального уровня масла в бак.
3.Трубопровод перелива масла. (Предусмотрен для исключения перенаполнения маслобака ).
4.ТЭН – для подогрева температуры масла в м/баке.
5.Датчик температуры масла в баке.
МОД (воздушно- масляный охладитель двигателя)–трубчатого типа, объёмом 0,3 м3.
На входе и выходе установлены клапаны, предотвращающие возможность перетекания масла из маслоохладителей в двигатель. В магистрали соединяющий вход и выход МОД – установлен регулятор температуры. В который на период запуска двигателя и его прогрева перепускает масло, т.е. минуя маслоохладитель на входе в двигатель, если температура масла на входе из двигателя < 60о.
Links
- Espacenet
- Discuss
- 
      239000010705
 motor oil
 Substances0.000 title claims abstract description 4 
- 
      239000003921
 oil
 Substances0.000 claims abstract description 20 
- 
      239000000203
 mixture
 Substances0.000 claims abstract description 7 
- 
      238000000926
 separation method
 Methods0.000 claims description 3 
- 
      238000005086
 pumping
 Methods0.000 claims description 2 
- 
      230000029058
 respiratory gaseous exchange
 Effects0.000 abstract description 3 
- 
      239000000126
 substance
 Substances0.000 abstract 1 
- 
      238000004140
 cleaning
 Methods0.000 description 1 
- 
      238000010790
 dilution
 Methods0.000 description 1 
- 
      238000010410
 dusting
 Methods0.000 description 1 
- 
      238000007710
 freezing
 Methods0.000 description 1 
- 
      238000010438
 heat treatment
 Methods0.000 description 1 
- 
      239000002184
 metal
 Substances0.000 description 1 
- 
      230000001629
 suppression
 Effects0.000 description 1 
- 
      238000009423
 ventilation
 Methods0.000 description 1 
Реферат патента 2019 года Система суфлирования воздуха в авиационном газотурбинном двигателе
Изобретение относится к авиадвигателестроению и касается устройства системы суфлирования воздуха авиационного газотурбинного двигателя (далее ГТД). Задачей изобретения является снижение расхода масла в ГТД за счет рациональной организации подвода воздуха и отвода масла от суфлера. Указанная задача решается тем, что в системе суфлирования воздуха в авиационном ГТД, содержащей полости подшипниковых опор ротора и коробку привода агрегатов с приводным центробежным суфлером с каналами подвода воздха и отвода масла, согласно настоящему изобретению полости подшипниковых опор ротора подключены системой суфлирующих магистралей к подводящему каналу установленного внутри замкнутой емкости циклонного воздухоотделителя, воздухоотводящий канал которого сообщен с замкнутой полостью, которая сообщена с каналом подвода воздуха в центробежный суфлер, а в подводящий канал циклонного воздухоотделителя встроен эжектор, низконапорное сопло которого сообщено с каналом отвода масла центробежного суфлера. 1 ил.
СИСТЕМА СУФЛИРОВАНИЯ ТУРБОРЕАКТИВНОГО ДВИГАТЕЛЯ
Вид РИД
Изобретение
Юридическая информация Юридическая информация
                    Свернуть
                    Развернуть
Правообладатели
Открытое акционерное общество «АВИАДВИГАТЕЛЬ»
                № охранного документа
                0002532393
            
                Дата охранного документа
                10.11.2014
            
Краткое описание РИД Краткое описание РИД
                    Свернуть
                    Развернуть
Аннотация:
Изобретение относится к турбореактивным двухконтурным двигателям авиационного применения. Система суфлирования турбореактивного двигателя включает в себя трубопровод суфлирования, соединенный с трубой суфлирования, установленной на сопло. Выходной конец патрубка трубы суфлирования выполнен изогнутой формы с образованием емкости для конденсата масла. Выходное сечение патрубка выполнено перпендикулярным оси трубы. Технический результат изобретения — исключение попадания масла на взлетно-посадочную полосу после выключения двигателя. 3 ил.
Основные результаты:
Система суфлирования турбореактивного двигателя, включающая в себя трубопровод суфлирования, соединенный с трубой суфлирования, установленной на сопло, отличающаяся тем, что выходной конец патрубка трубы суфлирования выполнен изогнутой формы с образованием емкости для конденсата масла, а выходное сечение патрубка выполнено перпендикулярным оси трубы.
Реферат Реферат
                    Свернуть
                    Развернуть
Изобретение относится к турбореактивным двухконтурным двигателям авиационного применения.
Известна система суфлирования турбореактивного двигателя, в котором выходной конец патрубка трубы суфлирования, предназначенной для стравливания воздуха, содержащего пары масла, выполнен прямой формы. («Авиационный двигатель ПС-90А», А.А. Иноземцев и др., Москва, Либра-К 2007 г., стр.137-138, рис.7.28).
Недостатком известной конструкции, принятой за прототип, является попадание масла на взлетно-посадочную полосу после выключения двигателя, что не обеспечивает требование инспекции SAFA к эксплуатации двигателей ПС-90А и его модификация в европейских аэропортах.
Технический результат заявленного изобретения заключается в исключении попадания масла на взлетно-посадочную полосу после выключения двигателя за счет скопления конденсата масла в трубе суфлирования.
Указанный технический результат достигается тем, что в системе суфлирования турбореактивного двигателя, включающей в себя трубопровод суфлирования, соединенный с трубой суфлирования, установленной на сопло, согласно изобретению, выходной конец патрубка трубы суфлирования выполнен изогнутой формы с образованием емкости для конденсата масла, а выходное сечение патрубка выполнено перпендикулярным оси трубы.
Выполнение выходного конца патрубка трубы суфлирования изогнутой формы с образованием емкости для конденсата масла обеспечивает скопление конденсата масла в трубе, что исключает попадание масла на взлетно-посадочную полосу после выключения двигателя.
Выполнение выходного сечения патрубка перпендикулярным оси трубы обеспечивает поддержание необходимого давления суфлирования в системе наддува лабиринтных уплотнений масляных полостей.
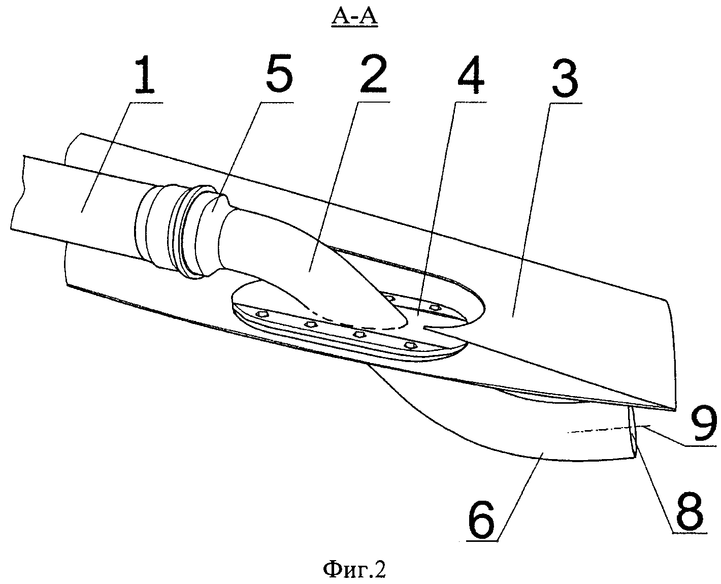
На фиг.1 — изображен общий вид системы суфлирования турбореактивного двигателя.
На фиг.2 — сечение А-А на фиг.1 в увеличенном виде.
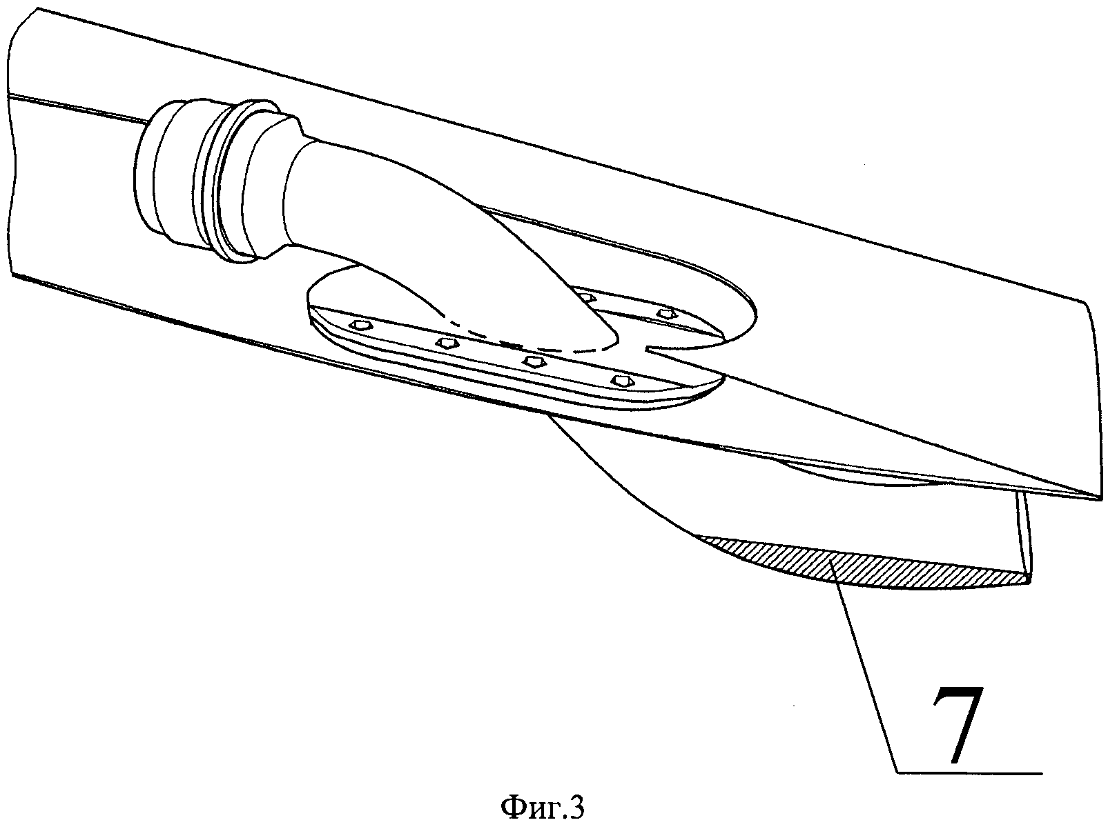
На фиг.3 — изображена труба суфлирования со скопившимся конденсатом масла в емкости.
Система суфлирования турбореактивного двигателя включает в себя трубопровод суфлирования 1, соединенный с трубой суфлирования 2, установленной на сопло 3. Труба суфлирования 2 крепится к соплу 3 через фланец 4. С помощью наконечника 5 труба 2 соединяется с трубопроводом 1 системы суфлирования. Выходной конец 6 патрубка трубы суфлирования 2 выполнен изогнутой формы с образованием емкости 7 для конденсата масла с выходным сечением 8, перпендикулярным оси 9 трубы 2.
После остановки двигателя скопившийся в емкости 7 выходного конца 6 изогнутой формы трубы суфлирования 2 конденсат масла остается в трубе, что исключает попадание масла на взлетно-посадочную полосу.
 Система суфлирования турбореактивного двигателя, включающая в себя трубопровод суфлирования, соединенный с трубой суфлирования, установленной на сопло, отличающаяся тем, что выходной конец патрубка трубы суфлирования выполнен изогнутой формы с образованием емкости для конденсата масла, а выходное сечение патрубка выполнено перпендикулярным оси трубы.



                Источник поступления информации:
        Роспатент    
СИСТЕМА СУФЛИРОВАНИЯ ДВИГАТЕЛЯ
Система суфлирования двигателя предназначена для сообщения масляных полостей двигателя с
атмосферой, обеспечения работы масляных уплотнений и воздушно-масляных лабиринтов и для устранения
возможности перетекания масла через уплотнения в проточную часть двигателя при повышении давления в
масляных полостях опор роторов двигателя. Система суфлирования (рис. 6.7) состоит из системы
суфлирующих каналов, трубопроводов и центробежного суфлера.
Рис. 6.7. Схема системы суфлирования полостей опор роторов двигателя:
опоры двигателя; 1 — центробежный суфлер; 2 — трубка суфлирования масляной полости II
опоры; 3 — трубка суфлирования масляной полости III опоры; 4 — трубка суфлирования полости V опоры;
трубка суфлирования предмасляной полости III опоры; 6—трубка суфлирования предмасляной полости II
Суфлирование полостей опор роторов двигателя осуществляется двумя способами: суфлированием
предмасляных полостей непосредственно в атмосферу и суфлированием масляных полостей через
центробежный суфлер коробки приводов.
Предмасляные полости задней опоры ротора компрессора (полость Б) и задней опоры ротора турбины
компрессора (полость Г), в которые может прорываться воздух под повышенным давлением из проточной
части двигателя, суфлируются непосредственно в атмосферу через каналы в корпусах и наружные трубки 6 и
5. Концы трубок выведены к срезу выхлопного сопла.
Масляные полости задней опоры ротора компрессора (полость В), задней опоры ротора турбины
компрессора (полость Д) и опоры ротора свободной турбины (полости Е и Ж) через каналы в корпусах и
наружные трубки 2, 3 и 4 суфлируются через приводной центробежный суфлер 1, расположенный в коробке
Воздух, отделенный в суфлере от масла, выводится за борт вертолета. Суфлирование коробки приводов
также осуществляется через центробежный суфлер. Конструкция и работа суфлера изложены в пособии
«Передачи и приводы двигателя ТВ2-117».
Полость передней опоры ротора компрессора (полость А) не суфлируется.
Суфлирование масляного бака осуществлено независимо от системы суфлирования двигателя. Масляный
бак суфлируется через расширительный бачок 17 (см. рис. 6.1), в котором масло отделяется от воздуха, путем
конденсации. Масляный конденсат собирается в нижней части расширительного бачка, сообщающегося с
Схема объединенных масляной и суфлирующей систем двигателя приведена на рис. 6.8.
Рис. 6.8. Объединенная схема масляной и суфлирующей систем двигателя
6.4.
КОНТРОЛЬНЫЕ ВОПРОСЫ
С какой целью к трущимся поверхностям двигателя осуществляется подача масла?
Какие требования предъявляются к маслосистемам газотурбинных двигателей?
Используя рисунок 6.1, проследите путь движения масла по маслосистеме двигателя. Объясните
назначение каждого из агрегатов маслосистемы.
Какие параметры маслосистемы контролируются при работе двигателя?
Какие основные узлы входят в состав верхнего маслоагрегата? Каково их назначение, принцип работы?
Как осуществляется регулировка величины давления масла?
Какие основные узлы входят в состав нижнего маслоагрегата? Каково их назначение, принцип работы?
Где расположены агрегаты маслосистемы двигателя?
Для чего предназначена система суфлирования двигателя?
Почему и чем отличаются способы суфлирования масляных и предмасляных полостей?
6.5.
ЛИТЕРАТУРА
1. Авиационный турбовинтовой двигатель ТВ2-117А и редуктор ВР-8А. Техническое описание. М.
2. Авиационный турбовинтовой двигатель ТВ2-117А (ТВ2-117) и редуктор ВР-8А (ВР-8). Руководство по
эксплуатации и техническому обслуживанию. М. Машиностроение 1976г.
3. Богданов А.Д. Хаустов И.Г. Авиационный турбовинтовой двигатель ТВ2-117. Москва. Транспорт 1979г. 4
. Основы конструкции авиационных газотурбинных двигателей. Под ред. Морозова Ф.Н. Москва. Воениздат
Самарский государственный аэрокосмический университет
имени академика С.П. Королева.
Механическое удерживание земляных масс: Механическое удерживание земляных масс на склоне обеспечивают контрфорсными сооружениями различных конструкций.
Поперечные профили набережных и береговой полосы: На городских территориях берегоукрепление проектируют с учетом технических и экономических требований, но особое значение придают эстетическим.
Общие условия выбора системы дренажа: Система дренажа выбирается в зависимости от характера защищаемого.
Организация стока поверхностных вод: Наибольшее количество влаги на земном шаре испаряется с поверхности морей и океанов (88‰).
Литература
3.1. Большая вероятность повреждения упорного подшипника. (Т.к. величина осевого сдвига определяется действием давления в проточной части нагнетателя на поверхности основного и покрывающего дисков, имеющих различную площадь, то резкое изменение давления приведёт к резкому изменению нагрузки на упорный подшипник).
3.2. Возможность отрыва или повреждения покрывающего диска. т. к. именно в теле покрывающего диска возникают наибольшие нагрузки при работе нагнетателя.
3.3. Разработка зазоров в лабиринтовых уплотнениях в следствии повышенной вибрации.
3.4. Повреждение опорных подшипников.
3.5. Сопровождающие помпаж резкие изменения потребляемой мощности приводит к скачкам температуры перед СТ, вибрации ротора СТ, повреждению подшипников СТ и зубчатых обойм.
3.6. Из-за резкого колебания температуры газа перед СТ может возникнуть помпаж осевого компрессора, который приводит разрушению лопаточного аппарата и повреждению подшипников ротора двигателя.

















































